«میکروتوربینی» که حتی با وزش نسیم برق تولید میکند
خبرگزاری علم و فناوری آنا؛ احسان عربی مفرد - سیدآرش دشتی دانشجوی کارشناسی مهندسی هستهای، مخترع، پژوهشگر و ایدهپرداز، دارای دو مدال برنز مسابقات جهانی نوآوری و اختراع به میزبانی کشور رومانی و آمریکا، دارنده چند اختراع ثبتشده و چند اختراع در دست داوری، مدرس دورههای از ایده تا اختراع، عضو انجمن مخترعین کشور، مترجم و عضو تیم R&D چند شرکت است.
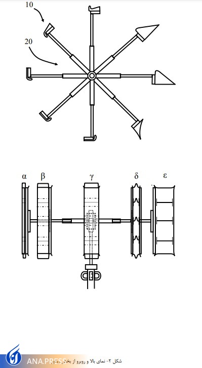
«میکروتوربین بادی عمودی با روتور قابل تنظیم هشت پر منشور مثلثی قابل انعطاف و ارتفاع هاب متغیر» با کارایی تولید برق توسط نیروی بادی با بازدهی و بهرهوری بالا حتی با نسیم ملایم، عنوان یکی از اختراعات عضو باشگاه پژوهشگران جوان و نخبگان دانشگاه آزاد اسلامی واحد تهران شرق است.

دشتی درباره جرقه اولیهای که منجر به اختراع خود با عنوان «میکروتوربین بادی عمودی با روتور قابل تنظیم هشت پر منشور مثلثی قابل انعطاف و ارتفاع هاب متغیر» شد، توضیح داد: از زمان کودکی در مورد وسایل اطرافم و چگونگی ساخت و کارکرد آنها خیلی کنجکاو بودم و علاقهمند بودم که روزی چنین چیزی اختراع کنم.
وی ادامه داد: از زمانی که به حیطه انرژی علاقهمند شدم و دغدغه کنونی دنیا را در مورد انرژی دیدم، بیشتر در مورد نحوه عملکرد انواع نیروگاهها تحقیق کردم. از آنجایی که رشته خودم مهندسی هستهای بود، اطلاعات کافی در زمینه تولید برق به روش هستهای به دست آوردم؛ اما در زمینههای دیگر اطلاعات خاصی نداشتم تا اینکه توسط «دکتر محمدنیا» که استادم بود، توانستم با دنیای انرژی آشنا شوم و تقریباً مسیر زندگیام را عوض کرد.
این مخترع جوان اضافه کرد: بعد از انجام تحقیقات و پژوهشها علاقه زیادی به انرژیهای تجدیدپذیر پیدا کردم و به دفعات زیاد در مورد پنلهای خورشیدی و توربینهای بادی، ایدههای نو ارائه دادم که با شکست مواجه شد؛ اما در نهایت با کمک استادان و تحقیق در این زمینه توانستم به این مهم دست پیدا کنم. در واقع جرقه اولیه اختراع «میکروتوربین بادی عمودی با روتور قابل تنظیم هشت پر منشور مثلثی قابل انعطاف و ارتفاع هاب متغیر» بعد از علاقهمند شدن به حیطه انرژی و اشراف به مشکلات آن زده شد.

عضو باشگاه پژوهشگران جوان و نخبگان دانشگاه آزاد اسلامی واحد تهران شرق در پاسخ به این پرسش که چه اهدافی را در اختراع خود دنبال کردید و نحوه عملکرد محصول چگونه بوده و برای چه مقاصدی سودمند است به آنا گفت: ساخت یک دستگاه کوچک و پرتابل با هزینه تولید کم و راندمان بالا از جمله اهداف مهمی بودند که در این اختراع دنبال شدند.
وی ادامه داد: نحوه عملکرد این میکروتوربین بادیمحور عمودی به این صورت است که با به داماندازی باد در جهت موافق پرههای خود، شروع به چرخیدن کرده و در سمتی که پرههای توربین مخالف جهت باد قرار میگیرند با مکانیسم مکانیکی طراحی شده در پرههای توربین، پرهها بسته شده و سطح اصطکاک را با باد کم کرده و در نهایت باعث افزایش راندمان میشوند.
دشتی اضافه کرد: این اختراع به گونهای طراحی شده که از آن بتوان در مجتمعهای مسکونی شهری، خانههای روستایی، مناطق مسکونیای که دسترسی به برق ندارند و حتی به صورت پرتابل برای کوهنوردان و طبیعتگردان استفاده کرد.
این مخترع جوان توضیح داد: توربینهای بادی معمول در سطح دنیا استفاده میشوند و یا حتی مدلهای دیگری از توربینهای بادی اختراع شده است؛ اما هیچ میکرو توربین بادی به شکل اختراع ادعایی وجود ندارد. در کل میتوان مزیت این میکرو توربین بادی را کم هزینه بودن آن، سبک و پرتابل بودن آن، داشتن راندمان بالا برای تولید برق از باد بسیار ملایم دانست. اختراع ادعایی میتواند حتی با وزش نسیم به چرخش در بیاید و شروع به تولید برق کند.

وی در پاسخ به این پرسش که مرحله ساخت از نمونه اولیه تا محصول چقدر هزینه دارد و آیا کمکی دریافت کردهاید؟ گفت: نمونه اولیه این دستگاه با هزینه شخصی حدود ۸۰۰ هزار تومان ساخته شد؛ اما زمانی که برای تولید صنعتی آن اقدام کردم، کمترین هزینه اعلامشده حدود ۷۰ میلیون تومان بود. با توجه به تلاشهای فراوان و درخواست کمک از دانشگاه و ارگانهای مختلف و بیپاسخ ماندن تمام درخواستها، پروژه تولید صنعتی این اختراع متوقف شده است.
دشتی ادامه داد: با توجه به تلاشها و دوندگیهای فراوان و درخواست کمک از دانشگاه و ارگانهای مختلف، هیچ گونه کمکی نشد. از دانشگاه و ارگانها خواستار نشان دادن راهی برای تولید این دستگاه و یا راهی برای نشان دادن آن در مجامع نمایشگاهی بودم که هیچ کدام از اینها به پاسخ نرسید. بارها با وعدههای مختلف امیدوار میکردند؛ اما در نهایت هیچ اتفاقی رقم نمیخورد. حتی یک بار با یکی از مقامات کشوری وقت ملاقات گذاشته بودند که پس از ساعتها انتظار پشت در اتاق وی، بنده را راه ندادند.
عضو باشگاه پژوهشگران جوان و نخبگان دانشگاه آزاد اسلامی واحد تهران شرق یادآور شد که اختراع «میکروتوربین بادی عمودی با روتور قابل تنظیم هشت پر منشور مثلثی قابل انعطاف و ارتفاع هاب متغیر» اکنون در روند تولید صنعتی به توقف کامل رسیده و به تولید انبوه نرسید؛ اما در آینده در صورت مهیابودن شرایط حتماً آن را به تولید انبوه خواهم رساند.

وی از همه کسانی که او را در مسیر موفقیتهایش یاری کردهاند، قدردانی کرد و درباره تازهترین فعالیتهای خود تشریح کرد: اکنون مشغول تحقیق و پژوهش در حیطه انرژی هستم. تازهترین پژوهشم در مورد نوعی توربین بادی است که میتواند نواقص زیادی را که توربینهای بادی معمول دارند، رفع کند. این توربین در دست داوری اختراع است که ازجمله مزیتهای آن میتوان راندمان بالاتر نسبت به توربینهای بادی معمول و تدابیر دیده شده برای جلوگیری از آسیب زدن به محیط زیست پرندگان و شرایط زیست محیطی آن منطقه را ذکر کرد.
انتهای پیام/
- غذای شرکتی
- تور استانبول
- غذای سازمانی
- خرید کارت پستال
- لوازم یدکی تویوتا قطعات تویوتا
- مشاوره حقوقی
- تبلیغات در گوگل
- بهترین کارگزاری بورس
- ثبت نام آمارکتس
- سایت رسمی خرید فالوور اینستاگرام همراه با تحویل سریع
- یخچال فریزر اسنوا
- گاوصندوق خانگی
- تاریخچه پلاک بیمه دات کام
- ملودی 98
- خرید سرور اختصاصی ایران
- بلیط قطار مشهد
- رزرو بلیط هواپیما
- ال بانک
- آهنگ جدید
- بهترین جراح بینی ترمیمی در تهران
- اهنگ جدید
- خرید قهوه
- اخبار بورس